2018년 전기산업기사 2회차 58번 - 기출문제 및 해설

문제 1

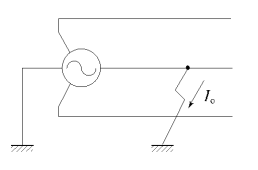
33상 동기발전기가 그림과 같이 11선 지락이 발생하였을 경우 단락전류 I0I_0를 구하는 식은? (단, EaE_a는 무부하 유기기전력의 상전압, Z0,Z1,Z2Z_0,Z_1,Z_2는 영상, 정상, 역상 임피던스이다.) [문제 오류 / 3번 정답처리]