2023년 전기산업기사 1회차 3번 - 기출문제 및 해설
문제 1
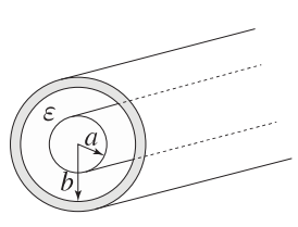
그림과 같이 내외 도체의 반지름이
a
,
b
a,b
a
,
b
인 동축 선(케이블)의 도체 사이에 유전율이
ϵ
\epsilon
ϵ
인 유전체가 채 워져 있는 경우 동축선의 단위 길이당 정전용량은?
1.
ϵ
ln
b
a
\epsilon \ln
\frac{b}
{a}
ϵ
ln
a
b
에 비례한다.
2.
1
ϵ
log
10
b
a
\frac{1}
{\epsilon} \log _{10}
\frac{b}
{a}
ϵ
1
lo
g
10
a
b
에 비례한다.
3.
ϵ
ln
b
a
\frac{\epsilon}
{\ln
\dfrac{b}
{a}}
l
n
a
b
ϵ
에 비례한다.
4.
ϵ
b
a
\frac{\epsilon b}
{a}
a
ϵ
b
에 비례한다.
💡 로그인하면 학습 진행률이 자동으로 저장되고, 북마크와 오답노트를 사용할 수 있습니다.
이전
다음